| 专利名称 | 一种电磁感应铝箔封口机电磁罩升降装置 | ||
| 申请日期 | 2020-4-22 | 公布/公告日期 | 2021-5-11 |
| 专利类型 | 实用新型 | 主分类号 | B65B51/22(2006.01) |
| 法律状态 | 2021-05-11 实用新型专利权授予 | ||
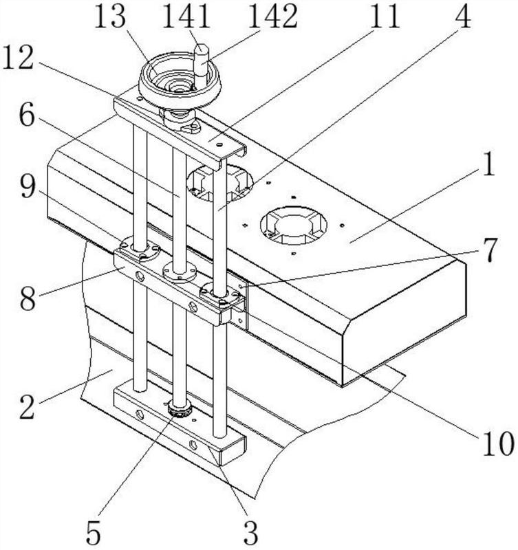
| 摘要 | 本实用新型公开了一种电磁感应铝箔封口机电磁罩升降装置,涉及封口机技术领域,具体包括电磁罩和安装架,所述安装架的上表面固定连接有升降支架底板,升降支架底板的上表面分别设置有硬轴导柱和推力轴承,推力轴承的内壁固定连接有T16丝杆,电磁罩的正面通过螺栓固定连接有安装板,安装板的正面固定连接有升降支架螺母板,升降支架螺母板的上表面设置有直线轴承和T16铜螺母。通过设置硬轴导柱、推力轴承、T16丝杆和实心手轮,达到了电磁罩平稳进行升降调节的效果,解决了一些现有电磁罩在使用时,并不能平稳的进行升降调节,这会导致封口的位置出现问题,*终会导致整体工作效率降低的问题。 | ||
| 摘要附图 | ![]() |
||



