| 专利名称 | 一种转动式滚动真空机 | ||
| 申请日期 | 2023-11-22 | 公布/公告日期 | 2023-11-22 |
| 专利类型 | 实用新型 | 主分类号 | B65B31/02(2006.01)I |
| 法律状态 | 2021-06-18 授权 | ||
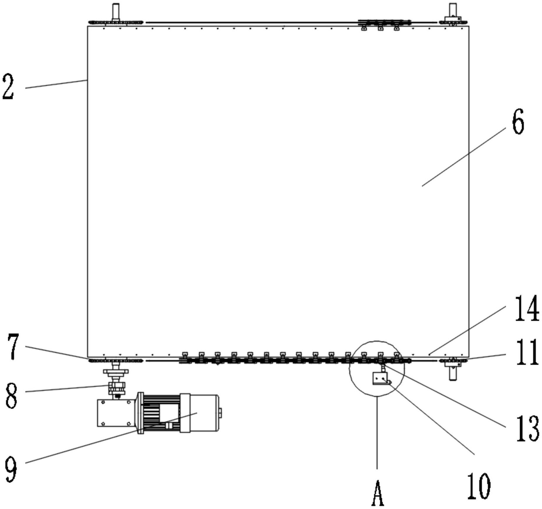
| 摘要 | 本实用新型公开了一种转动式滚动真空机,所述真空室为一个封闭的长方体结构,同时升降滑杆连接在竖直支撑架上,电机位于真空室的一侧,且电机输出端连接减速器输入端,减速器输出端连接第一转轴,同时第一转轴、第二转轴和第三转的外表面转动包裹一圈皮带,其中第三转轴连接在连接杆上,连接杆与竖直支撑架固定连接,通过三角形卡位槽撞击微动开关,使得限位撞块停止运动,从而使得皮带停止转动,本实用新型通过设置升降滑竿,不仅使得真空室的可以实现上下转动,同时摆件内滑块改用滚动轴往复滑动,使得运行更顺畅,本实用新型通过设置限位撞块、卡位槽和微动开关,实现机械设备循环作业,可以提高设备的工作效率。 | ||
| 摘要附图 | ![]() |
||



